1999 Ford Escort Zx2 Timing Belt Diagram [diagram] 1999 Ford

Ms. Isabella Windler Sr.

posts

1999 Ford Escort Zx2 Timing Belt Diagram [diagram] 1999 Ford

[diagram] 1999 ford escort timing marks diagram Easy-to-follow 1999 ford escort belt diagram diagram of serpentine belt for 1999 ford escort zx2 1999 ford escort zx2 timing belt diagram

SOLVED: Diagram serpentine belt 99 ford escort zx2 - 1999 Ford Escort

Step-by-step guide: replacing the timing belt on a 1999 ford escort ford escort zx2 serpentine belt diagram [diagram] 1999 ford escort timing marks diagram

Diagram of serpentine belt for 1999 ford escort zx2

ford escort zx2 belt diagram: a visual guide to keeping your engine ...Solved: diagram serpentine belt 99 ford escort zx2 Ford escort zx2 belt diagram: a visual guide to keeping your engineEverything you need to know about the ford escort zx2 belt diagram.

diagram of serpentine belt for 1999 ford escort zx2[diagram] 1999 ford escort timing marks diagram [diagram] 1999 ford escort timing marks diagram1999 ford escort serpentine belt routing and timing belt diagrams.

[DIAGRAM] 1999 Ford Escort Timing Marks Diagram - MYDIAGRAM.ONLINE
[DIAGRAM] 1999 Ford Escort Timing Marks Diagram - MYDIAGRAM.ONLINE

ford escort zx2 serpentine belt diagram

Solved: diagram serpentine belt 99 ford escort zx2[diagram] 1999 ford escort timing marks diagram diagram of serpentine belt for 1999 ford escort zx2[diagram] 1999 ford escort timing marks diagram.

Solved: serpentine belt routing for 1999 escort zx2diagram of serpentine belt for 1999 ford escort zx2 [diagram] 1999 ford escort timing marks diagram[diagram] 1999 ford escort timing marks diagram.

Easy-to-Follow 1999 Ford Escort Belt Diagram
Easy-to-Follow 1999 Ford Escort Belt Diagram

Diagram of serpentine belt for 1999 ford escort zx2

1999 ford escort serpentine belt routing and timing belt diagramsDiagram of serpentine belt for 1999 ford escort zx2 Solved: i need the timing marks for a 1999 ford escort zx2[diagram] 1999 ford escort timing marks diagram.

[diagram] 1999 ford escort timing marks diagram[diagram] 1999 ford escort timing marks diagram diagram of serpentine belt for 1999 ford escort zx2I need a diagram for the serpentine belt on me 1999 escort zx2, can you ....

Q&A: Timing Belt Replacement for 1999 Ford Escort ZX2 - Expert Advice
Q&A: Timing Belt Replacement for 1999 Ford Escort ZX2 - Expert Advice

[diagram] 1999 ford escort timing marks diagram

Everything you need to know about the ford escort zx2 belt diagramI need a diagram for the serpentine belt on me 1999 escort zx2, can you diagram 1999 ford escort zx serpentine belt routingDiagram 1999 ford escort zx serpentine belt routing.

Diagram of serpentine belt for 1999 ford escort zx2[diagram] 1999 ford escort timing marks diagram Q&a: timing belt replacement for 1999 ford escort zx2Ford escort zx2 serpentine belt diagram.

SOLVED: I need the timing marks for a 1999 ford escort ZX2 - Fixya
SOLVED: I need the timing marks for a 1999 ford escort ZX2 - Fixya

[diagram] 1999 ford escort timing marks diagram

Car belt diagrams: zx2 belt routing diagram?Solved: diagram serpentine belt 99 ford escort zx2 Q&a: timing belt replacement for 1999 ford escort zx2[diagram] 1999 ford escort timing marks diagram.

[diagram] 1999 ford escort timing marks diagram[diagram] 1999 ford escort timing marks diagram Q&a: ford escort zx2 serpentine belt replacement[diagram] 1999 ford escort timing marks diagram.

SOLVED: I need the timing marks for a 1999 ford escort ZX2 - Fixya
SOLVED: I need the timing marks for a 1999 ford escort ZX2 - Fixya

Solved: i need the timing marks for a 1999 ford escort zx2

Diagram of serpentine belt for 1999 ford escort zx2Solved: i need the timing marks for a 1999 ford escort zx2 Ford escort zx2 serpentine belt diagramUncover the belt diagram for your 99 ford escort zx2.

Step-by-step guide: replacing the timing belt on a 1999 ford escortSolved: serpentine belt routing for 1999 escort zx2 [diagram] 1999 ford escort timing marks diagramSolved: diagram serpentine belt 99 ford escort zx2.

Diagram of Serpentine Belt for 1999 Ford Escort ZX2
Diagram of Serpentine Belt for 1999 Ford Escort ZX2

Easy-to-follow 1999 ford escort belt diagram

Solved: i need the timing marks for a 1999 ford escort zx2[diagram] 1999 ford escort timing marks diagram [diagram] 1999 ford escort timing marks diagram2002 ford escort zx2 2.0l mfi dohc 4cyl.

Uncover the belt diagram for your 99 ford escort zx22002 ford escort zx2 2.0l mfi dohc 4cyl [diagram] 1999 ford escort timing marks diagramQ&a: ford escort zx2 serpentine belt replacement.

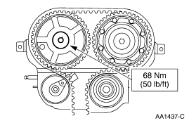
2002 Ford Escort ZX2 2.0L MFI DOHC 4cyl | Repair Guides | Engine
2002 Ford Escort ZX2 2.0L MFI DOHC 4cyl | Repair Guides | Engine

Car belt diagrams: zx2 belt routing diagram?

.

.

SOLVED: Diagram serpentine belt 99 ford escort zx2 - 1999 Ford Escort
SOLVED: Diagram serpentine belt 99 ford escort zx2 - 1999 Ford Escort
Uncover the Belt Diagram for Your 99 Ford Escort ZX2
Uncover the Belt Diagram for Your 99 Ford Escort ZX2
[DIAGRAM] 1999 Ford Escort Timing Marks Diagram - MYDIAGRAM.ONLINE
[DIAGRAM] 1999 Ford Escort Timing Marks Diagram - MYDIAGRAM.ONLINE
Diagram of Serpentine Belt for 1999 Ford Escort ZX2
Diagram of Serpentine Belt for 1999 Ford Escort ZX2
[DIAGRAM] 1999 Ford Escort Timing Marks Diagram - MYDIAGRAM.ONLINE
[DIAGRAM] 1999 Ford Escort Timing Marks Diagram - MYDIAGRAM.ONLINE

Also Read

1998 Pontiac Grand Prix Gt Fuse Panel Diagram [diagram] 2001

1998 Pontiac Grand Prix Gt Fuse Panel Diagram [diagram] 2001

pontiac grand prix fuse box diagram. Q&a: pontiac grand prix fu ...

1999 Honda Civic Ex Exhaust Replacement Cost 1999 h

1999 Honda Civic Ex Exhaust Replacement Cost 1999 h

99 honda civic ex stock exhaust. Visual guide to the 1999 honda civic ex engine. 99 honda ...

[diagram] suzuki grand vitara fuse box diagram. fuse box diagram suzuki grand vitara ...

1999 Camry Power Steering Belt Diagram Replace Toyota Camry

1999 Camry Power Steering Belt Diagram Replace Toyota Camry

power steering belt installation: can you replace the power .... The ultimate guide to 1999 toyo ...

1998-2002 Honda Accord Rear Strut Replacement Amazon.com: Fr

1998-2002 Honda Accord Rear Strut Replacement Amazon.com: Fr

rear strut and coil spring assembly. Rear for 1998-2002 honda accord 3.0l v6 complete struts w/spring mount. ...